شگفتی صنعت خودرو در آمریکا؛ حیات مجدد موتور دوزمانه با کمک جنرال موتورز
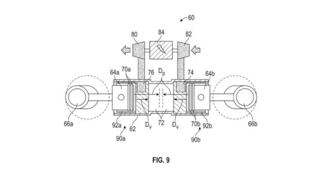
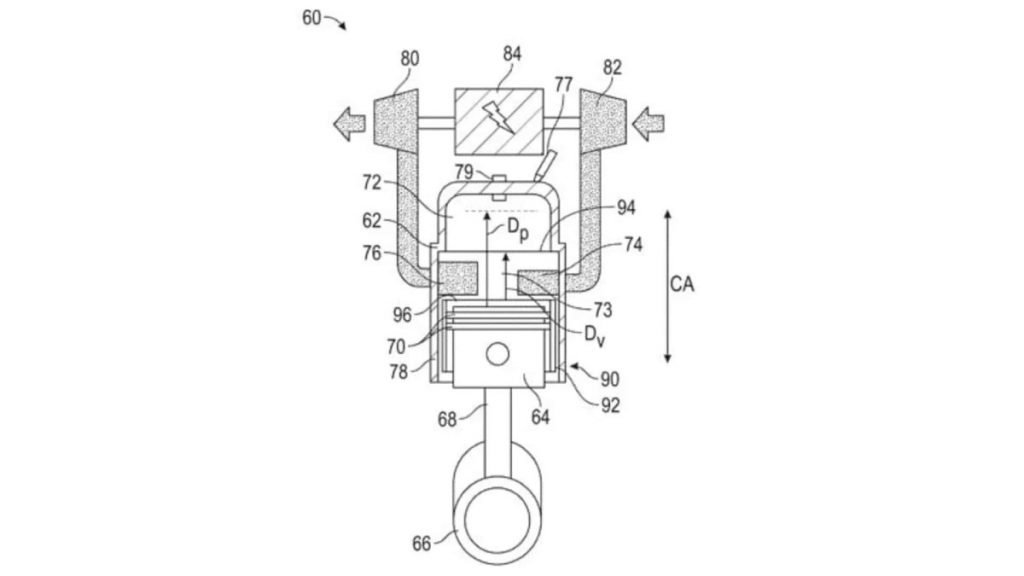
این موتور دارای یک غلاف متحرک بین پیستون و دیواره سیلندر است.
جنرال موتورز با ثبت اختراع یک موتور دوزمانه مدرن، صنعت خودرو را شگفتزده کرد. موتورهای دوزمانه که معمولاً در موتورسیکلتها و خودروهای کوچک بهکار میروند، از مدتها پیش بهدلیل آلایندگی شدید، دوام پایین و مشکلات مکانیکی مورد انتقاد قرار گرفتهاند. اختراع جنرال موتورز بهدنبال رفع این نقاط ضعف است، درحالیکه نسبت قدرت به وزن عالی موتورهای دوزمانه را حفظ میکند.
این موتور دارای یک غلاف متحرک بین پیستون و دیواره سیلندر است. برخلاف دریچههای ثابت معمولی، این غلاف هماهنگ با پیستون حرکت میکند؛ برای مکش باز میشود، در حین احتراق بسته میشود و برای خروج گازها دوباره باز میشود. این غلاف همچنین حلقههای پیستون را در دهانههای دریچه جابهجا میکند و خطر قفل کردن موتورهای دوزمانه کلاسیک را کاهش میدهد. هدف از این طرح کاهش آلایندگی، بهبود راندمان و افزایش عمر موتور است.

اگرچه این اختراع برای خودروها، افزایشدهندههای برد هیبریدی یا موتورهای ثابت در نظر گرفته شده است، اما مزایای آن برای موتورسیکلتها قابلتوجه خواهد بود. اکثر تولیدکنندگان موتورسیکلت بهدلیل تشدید مقررات آلایندگی و هزینههای بالای تحقیق و توسعه، موتورهای دوزمانه را کنار گذاشتهاند. اگر سیستم سوپاپ غلافی جنرال موتورز با استانداردهای مدرن مطابقت داشته باشد، برندهای سازنده موتورسیکلت میتوانند حق استفاده از این فناوری را خریداری کنند یا از آن الهام بگیرند و پیشرانهای که از مدتها پیش منسوخ شده بود را احیا کنند.
موتور دوزمانه جنرال موتورز در کدام موتورسیکلتها بهکار میرود؟
موتورهای سبکوزن پاک، وسایل نقلیه با موتور کمحجم و نسبت قدرت به وزن عالی، یا حتی موتورسیکلتهای هیبریدی با افزایشدهندههای برد دوزمانه میتوانند از این فناوری بهره ببرند. موتورهای TPI ساخت KTM نشان دادهاند که موتورهای دوزمانه پاک قابل تولید هستند. رویکرد جنرال موتورز میتواند با رفع مشکلات و کنترل دقیق زمانبندی پورت، این فناوری را توسعه دهد.
البته این فقط یک ثبت اختراع است، نه یک نمونه اولیه کارآمد. بسیاری از طرحهای امیدوارکننده دوزمانه بهدلیل پیچیدگی یا هزینه مهندسی بالا نتوانستهاند به موتورهای تولیدی قابل استفاده تبدیل شوند. بااینحال، مشارکت جنرال موتورز اعتبار بیشتری به این طرح میدهد. شرکتهای کمی میتوانند سرمایهگذاری لازم برای اختراع مجدد موتورهای دوزمانه را تأمین کنند.

درنهایت، اگر جنرال موتورز در مدرنسازی موتورهای دوزمانه برای صنعت خودرو موفق شود، ممکن است موتورسیکلتها بهطور غیرمستقیم از مزایای آن بهرهمند شوند. نکته جالب این است که احیای موتورهای دوزمانه برای موتورسیکلتها شاید توسط یک خودروساز انجام شود و شرایط را برای تولید موتورهای پاکتر، بادوامتر و درعینحال هیجانانگیز فراهم کند.
برای گفتگو با کاربران ثبت نام کنید یا وارد حساب کاربری خود شوید.