فراری روی موتور هیدروژنی وارونه کار میکند
اگرچه عملی بودن طرح موتور وارونه همچنان جای بحث دارد، اما این نوآوری تمایل فراری را برای کنار زدن محدودیتهای مهندسی نشان میدهد.
فراری از گذشته تاکنون بهخاطر آزمایش طرحهای نامتعارف موتور شناخته میشود، اما جدیدترین دستاوردش ممکن است عجیبترین آنها باشد: یک موتور درونسوز هیدروژنی وارونه. خودروساز ایتالیایی همچنان به اصلاح این موتور وارونه ادامه میدهد و حالا میدانیم که مهندسان چگونه میخواهند چالش اصلی این موتور یعنی روانکاری آن را حل کنند.
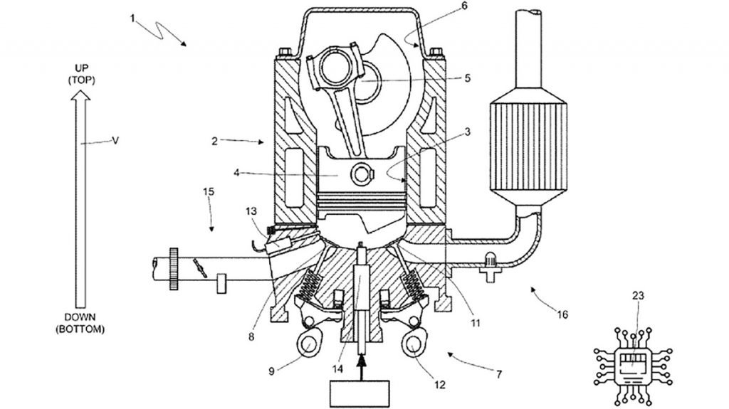
بهطور سنتی، موتورهای درونسوز، میل لنگ را در پایین و شمعها را در بالا قرار میدهند و روغن در یک محفظه در زیر آن ذخیره میشود. نیروی جاذبه تضمین میکند که روغن پس از پمپاژ به سمت بالا، دوباره به پایین گردش کند. در نتیجه همیشه یک لایه محافظ روی اجزای حیاتی قرار میگیرد.
طراحی خاص موتور هیدروژنی وارونه فراری چگونه است؟
طراحی وارونه فراری این چیدمان را تغییر میدهد و میل لنگ را در بالا و ظرف روغن را درست زیر کاپوت قرار میدهد. درحالیکه این کار فضا را برای نصب مخازن سوخت هیدروژن بزرگ فراهم میکند، یک مشکل جدی ایجاد میکند: روغن بهطور طبیعی به سمت پایین تخلیه میشود، پیستونها را پر میکند و احتمالاً به محفظههای احتراق نفوذ میکند. چنین تجمعی میتواند شمعها را خراب کند، احتراق کثیف به وجود آورد، دود آبی ایجاد کند یا حتی موتور را قفل کند.

برای حل این مشکل، فراری یک سیستم روغنکاری خشک را پیشنهاد میدهد که روغن را در یک مخزن جداگانه بهجای محفظه سنتی ذخیره میکند. پمپهای روغن الکتریکی که توسط ECU خودرو کنترل میشوند، جریان را بهطور دقیق تنظیم میکنند. درست قبل از خاموش شدن موتور (معمولاً یک ثانیه، اما قابل تنظیم بین ۰.۵ تا ۲.۵ ثانیه) ECU منبع روغن را قطع میکند. جتهای زیر میل لنگ، روانکاری کافی را در حین فعالیت موتور تضمین میکنند، اما به محض اینکه پمپ قطع شود، روغن باقیمانده توسط چرخش میل لنگ به بیرون پرتاب میشود و دوباره به مخزن برمیگردد. این توالی سریع، خطر تجمع روغن در سیلندرها را به حداقل میرساند و درعینحال از قطعات متحرک تا زمان توقف موتور محافظت میکند.
تمایل فراری برای کنار زدن محدودیتهای مهندسی
اگرچه عملی بودن طرح موتور وارونه همچنان جای بحث دارد، اما این نوآوری تمایل فراری را برای کنار زدن محدودیتهای مهندسی نشان میدهد. همکاری طولانیمدت فراری با شرکت شل هم میتواند در اصلاح استراتژیهای روانکاری برای چنین سیستمهای غیرمتعارفی تأثیرگذار باشد.

موتور هیدروژنی وارونه فراری خلاقیت جسورانه و ریسکپذیری این برند را نشان میدهد. این طرح، بیش از یک قرن معماری موتور تثبیتشده را در راستای بهبود بستهبندی مخازن هیدروژنی به چالش میکشد. اینکه آیا این طراحی وارد فاز تولید میشود یا خیر مشخص نیست. بااینحال طرح موتور وارونه انگیزه فراری برای آزمایش، نوآوری و بازتعریف مهندسی خودروهای پرفورمنس را برجسته میکند.
برای گفتگو با کاربران ثبت نام کنید یا وارد حساب کاربری خود شوید.